+86 19057031687

Venta al por mayor Horquilla de cambio

  • S-1098 Horquilla de cambio para TMT
  • S-1098 Horquilla de cambio para TMT
  • S-1098 Horquilla de cambio para TMT
  • S-1098 Horquilla de cambio para TMT
Horquilla de cambio

S-1098 Horquilla de cambio para TMT

Todas las horquillas de cambio de nuestra empresa han pasado la prueba de aplicación práctica en fábricas de fibras químicas y la calidad del producto supera el estándar técnico de la máquina original.

  • S-1098 Horquilla de cambio para TMT
  • S-1098 Horquilla de cambio para TMT
  • S-1098 Horquilla de cambio para TMT
  • S-1098 Horquilla de cambio para TMT

Descripción del producto

Nombre Horquilla de cambio
modelo S-1098 (Mi Xin)
Número de pedido
Materiales Aleación de aluminio
Solicitud
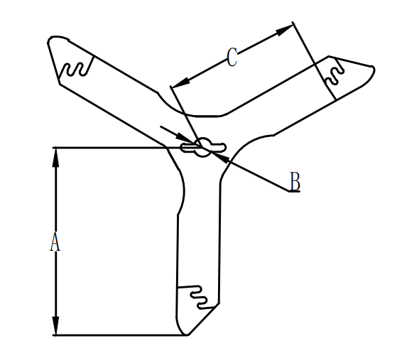
Dimensión milímetros Ancho: 10 mm, C: 84 mm
Peso 26g

Sobre nosotros

Equipo mecánico Co., Ltd. de Jiaxing Shengbang

Jiaxing Shengbang Mechanical Equipment Co., Ltd. is a comprehensive technological advantage, specializing in the development, production, sales and maintenance of key parts and spinning machines, and R&D of new materials and fabrics. We are China Wholesale S-1098 Horquilla de cambio para TMT Suppliers and S-1098 Horquilla de cambio para TMT Company. Shanghai Panguhai Technology Engineering Co., Ltd. is the sales and R&D headquarters of our company, Haian Jingtong New Material Technology Co., Ltd. is the production and experimental base of our machinery and yarn.
Contamos con equipos avanzados y perfectos para la producción, inspección, prueba y mantenimiento de maquinaria de hilatura, como máquinas herramienta CNC avanzadas, máquina equilibradora Shenk, equipos de recubrimiento por plasma del Instituto de Tecnología de Fabricación AVIC y calibración de temperatura para godet caliente de Barmag. Basándonos en nuestra rica experiencia y tecnología de sistematización madura en la producción de hilo de filamento, hemos desarrollado una revolucionaria máquina de prueba de hilatura multipropósito, con la cual se pueden producir fácilmente hilo de un solo componente, hilo de dos componentes, hilo de múltiples componentes, POY, FDY, hilo de resistencia media e hilo de filamento. Además, contamos con un laboratorio de hilado para la fabricación de muestras, donde los clientes también pueden realizar pruebas de hilado por sí mismos.
A través de la tecnología avanzada, los equipos y nuestra conveniente ubicación, hemos establecido con éxito relaciones de cooperación con Tongkun Group, Xin Feng Ming Group, Hengli Group y Shenghong Corp., así como con muchas otras empresas de fibras químicas reconocidas en China, y nuestra calidad y servicio han sido ampliamente aprobados por los clientes.
Equipo mecánico Co., Ltd. de Jiaxing Shengbang

Honor

  • Certificado de patente
  • Certificado de patente
  • Certificado de patente
  • Certificado de patente
  • Certificado de patente
  • Certificado de patente
  • Certificado de patente
  • Certificado de patente

Noticias